Builds Rub A Dub Dub, Pablo's Got A New Tub!!! (2 Viewers)

This site may earn a commission from merchant affiliate
links, including eBay, Amazon, Skimlinks, and others.

Some Cruiser shenanigans w/ @Laughingjackal and @mcguirejohnson yesterday:

IMG_9069.webp
 
Some props to @mcguirejohnson...

I have not driven the 40 much b/c there is an exhaust leak up in the engine compartment.

I thought the leak was coming from the junction between the intake and exhaust manifolds. So I had been pro-crast-ee-nating the repair as I was just not up for pulling the manifolds.

A week ago I was up checking on the @Laughingjackal project 60 and @mcguirejohnson said I should really check the flange where the EGR plumbs into the exhaust manifold. In his experience they can leak there. Sounds good to me! Easier than pulling the manifolds. So I set out to check this flange:

View attachment 2522679

TJ - those EGR flanges often warp and the gasket blows out. I have plugged most of mine with a steel slug welded inside the manifold (could be drilled out later if desired) as they are impossible to keep sealed. The size of that flange and gasket changed a few times through the years as Toyota tried to get it right (and never did).

To me, they are a chronic weak spot on 2F manifolds. I highly doubt you'll get away with tightening the nut, but go for it and see if you get lucky. If you drop in a slug and weld it, you can reattach the EGR tube on the studs to give it the 'look and feel' of being emission compliant.

Is there an expansion plug that can just be pounded into that hole under the EGR flange?

Possibly, but that part of your manifold will fill with condensate and carbon, and a steel plug might well rust out over time. A brass/bronze expansion plug might work better. You would have to measure the passage and see what the ID is and see what OD plugs are available that would have the correct interference fit.

Freshly updated - ask and ye shall receive: 3FE exhaust on 2F head

Tried (and failed) to disconnect the EGR J-shaped tube so I could replace the gasket at the exhaust manifold.
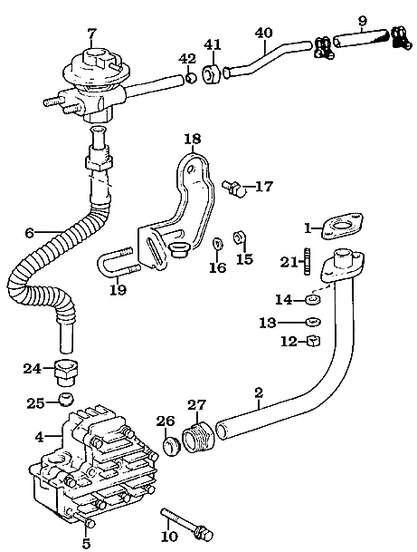
I could not loosen the nut where J tube connects to the EGR cooler - #27 in illustration. Trying to replace gasket #1 in illustration:

1616618035140.webp


What have you all done to get this loose? Remove fender?

63797508981__84357418-1DED-4AF6-A3FA-691C4B160F1D.webp

IMG_9421.webp
 
Consider loosening/removing the EGR cooler bolts (#5 and #10) and that should put enough slop in the system to let the J pipe drop down. You might warm the area of the stuck nut with a propane torch and reapply WD-40, too. In this case, you're not trying to heat up the EGR cooler to expand it away from the screw threads, you're just trying to promote the penetrant getting inside where it can do some good.
 
Consider loosening/removing the EGR cooler bolts (#5 and #10) and that should put enough slop in the system to let the J pipe drop down. You might warm the area of the stuck nut with a propane torch and reapply WD-40, too. In this case, you're not trying to heat up the EGR cooler to expand it away from the screw threads, you're just trying to promote the penetrant getting inside where it can do some good.
I like the idea of loosening the cooler!
Thank you!!!
 
Send it to marks offroad or JimC. My Marksoffroad was great on the Pig.
The carb went through Jim C's hands over a decade ago, so I think it is dailed and "proper" just full of scale and funk from sitting too long :(
 

Users who are viewing this thread

Back
Top Bottom