1979 Manual Steering Box - Need Help

This site may earn a commission from merchant affiliate
links, including eBay, Amazon, Skimlinks, and others.

Joined
Oct 24, 2015
Threads
107
Messages
310
Location
Clarksville, TN 37043
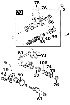
I removed a couple of bolts on my manual steering box so I could remove the brackets to make it easier to clean and paint the box and brackets. After cleaning, painting and putting it back together I discovered an oil leak around the stud/nut circled in red. To my knowledge, the leak was NOT there before I removed the bracket although, with all the crud that was on it, it could have been masked. I didn’t touch or make any adjustments to the stud/nut in the process.

From what I can tell from diagrams there doesn’t appear to be any kind of a gasket or seal under the nut on either side of the cover plate.

Because I’m not sure how sensitive the adjustments are on the stud/nut I haven’t attempted any adjustments.

What is the best way to try to fix the leak? Should I hold the stud with a screwdriver and try to tighten the nut? Can I hold the stud and try to back the nut off and put a seal under it? Is there any tension on the stud? Is there a specific torque setting I need to hit for the nut?

If you’ve had any experience rebuilding or repairing one of these steering boxes, I’d appreciate your input.

upload_2017-3-23_15-57-23.webp
 
There is a washer seal under that nut..
#19

099a1.gif
 
Put a slotted screwdriver in the bolt and see if you can tighten the nut enough that it stops leaking. If the bolt moves slightly it won't be a big deal.
 
The manual box does not have a seal there. The screw and nut control the tolerance between the work gear and the sector shaft, so the proper preload is VERY important. Do a thread search and I am sure you will find info on setting preload.

Best

Mark

www.marksoffroad.net
 
Back
Top Bottom