Gas Tank Leak - Replacement tech

This site may earn a commission from merchant affiliate
links, including eBay, Amazon, Skimlinks, and others.

Sporin

Site Addict
Joined
Apr 23, 2003
Threads
170
Messages
3,502
Location
Windsor, VT USA
Website
www.ukemafia.com
When I fill my '74 up it leaks. Looks like it's coming from the front, pass. side corner, maybe at that "seam" where the top and bottom come together.

Obviously his won't do.

I cant even get to where I believe it's leaking so I know I need to drain the tank and drop it but what do you guys suggest for replacement? I want safety but I'm on a budget.

Originality is not an issue as the truck already has a Chevy 350 in it and is cosmetically rough.

Thoughts? Ideas? Tips for lowering the tank?

Thanks.
 
I find it interesting that last night when I put the truck in the garage it had stopped dripping, yet when I came home today it had started again, could it have warmed up enough today to expand and find the hole/split/loose fitting? It wasn't particularly hot today.

Drained 5 gallons out of it (I put in 13 last night) and no more dripping. Will get it cleaned up and pull the tire off tomorrow to try and get a look at the area in question.
 
fuel spillage

had the same problem......the PO had plugged all the outlets to the fuel tank except the line to the carb and the filler hose........ during the day fuel and the air above it will expand as things warm up pushing the fuel out the filler neck onto the exhaust :eek:or other openings:hhmm:.........the fj55 fuel tank and its venting is very well thought out........I ended up going back to the original set up except for the charcoal canister which was gone......problem solved :)

Lou
IMG_2168 fuel spillage.webp
 
Does anyone have a picture or diagram of how all of those hoses are supposed to go together for the factory venting? I'm pretty sure it is in the driver's side rear quarter panel.

I'm getting leaking too when I first fill up, but it appears to not be coming from the tank but maybe the filler or one of those other hoses in there...
 
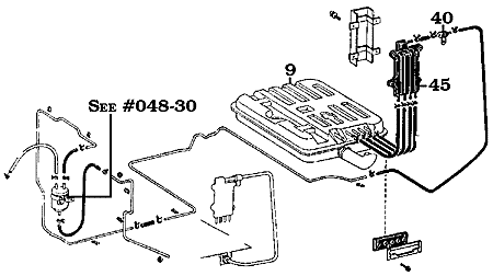
here is a picture of the upper portion of an fj55 fuel tank courtesy of Luke111..the 4 small tubes feed into the air fuel separator and from there to the charcoal canister; the larger one goes to the fuel filler neck so you can see if the air fuel separator is capped off then as the air expands it will push the gas outwards through the filler neck either through the main opening or the overflow; hth

Lou
fuel tank vent system.webp
fj 55 gas tank vent system.gif
 
Back
Top Bottom