LX700h Factory Sub-Tank (1 Viewer)

This site may earn a commission from merchant affiliate
links, including eBay, Amazon, Skimlinks, and others.

Why in the world would Lexus/Toyota not offer this secondary tank in the US? I think there was a similar deal with the 200s too, where they offered a secondary tank in the ME and not stateside.
Not just ME, pretty much every market got the sub-tank option and other goodies that were not available for the North-American market.
For example euro-spec 200-series came with 18's or 20's and also the choice between KDSS or AHC/AVS from day 1.
 
following - thanks for the details and the effort.
 
Seems like Australia gets the auxillary fuel tank as standard on their lx600 (110 L = 29 gal), and a triple locked overtrail version of the 600 to boot...

Are there any differences in the underside of the 600 vs 700h which would mean the auxillary tank wouldn't fit?

1000013189.webp
1000013190.webp
 
Update:
  • Scanning of undercarriage is complete.
  • I'll be working on finishing the BOM and designing the mounting brackets next.
  • Three of the four mounting weldments for the OEM sub-tank are not installed on the USDM LX.
 
Update:
  • Scanning of undercarriage is complete.
  • I'll be working on finishing the BOM and designing the mounting brackets next.
  • Three of the four mounting weldments for the OEM sub-tank are not installed on the USDM LX.
Kudos to u if u get this figured out. Wondering how u gonna change the programming in the lx700h
. I just crawled under my lx7 and there is a huge space on driver side opposite the tank. Can also always put a 5 gallons gas can in back lol. Im getting over 20 mpg in mine on eco mode but no where near the close to 500 miles per tank in my gx which easily gets 22-23 mpg on a 23 gallon tank
 
Kudos to u if u get this figured out. Wondering how u gonna change the programming in the lx700h
. I just crawled under my lx7 and there is a huge space on driver side opposite the tank.
There's no programming, it's all mechanical. Yes that's where the factory sub-tank goes.
 
Kudos to u if u get this figured out. Wondering how u gonna change the programming in the lx700h
. I just crawled under my lx7 and there is a huge space on driver side opposite the tank. Can also always put a 5 gallons gas can in back lol. Im getting over 20 mpg in mine on eco mode but no where near the close to 500 miles per tank in my gx which easily gets 22-23 mpg on a 23 gallon tank
Not sure how you were getting 500miles on a GX460, the most i got was 400, but that was a long trip. But mix driving is around 320ish
 
Not sure how you were getting 500miles on a GX460, the most i got was 400, but that was a long trip. But mix driving is around 320ish
For some reason the newer gx460s got less mpg. Can't figure it. Keep it around 65 mph on highway and u will get over 20 easy. Im just waiting for the valley leak to happen since it's well over 100k.
 
Last edited:
There's no programming, it's all mechanical. Yes that's where the factory sub-tank goes.
As of today following this thread. Thanks much to @Oakleyguy for trying to figure this out, awesome!

Regarding all mechanical, how do you plan to hookup and operate what looks like a fuel pump mounted in the additional tank? Seems from factory this would be automated vs the LRA switch in the dash. I guess also fuel level in the aux tank is something to consider. Your thoughts?
 
Last edited:
As of today following this thread. Thanks much to @Oakleyguy for trying to figure this out, awesome!

Regarding all mechanical, how do you plan to hookup and operate what looks like a fuel pump mounted in the additional tank? Seems from factory this would be automated vs the LRA switch in the dash. I guess also fuel level in the aux tank is something to consider. Your thoughts?
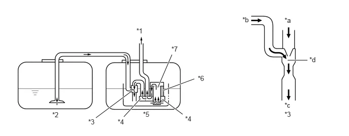
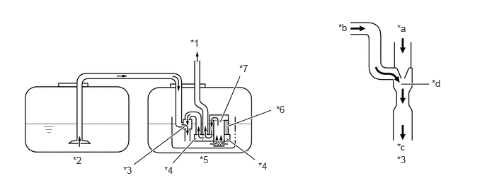
This is the cool part: you just need to replace the main fuel pump assembly as the dual tank models use a Venturi pump to siphon fuel from the sub tank to the main tank; its completely passive.

I haven't found yet if I'll be able to integrate the secondary fuel level sender unit, but worst case, the gauge stays at FULL on the dash until you start using up fuel in the primary tank.

1749335489449.webp
 
This is the cool part: you just need to replace the main fuel pump assembly as the dual tank models use a Venturi pump to siphon fuel from the sub tank to the main tank; its completely passive.

I haven't found yet if I'll be able to integrate the secondary fuel level sender unit, but worst case, the gauge stays at FULL on the dash until you start using up fuel in the primary tank.

View attachment 3923975
Ok, great, that is how the factory setup for the 200 series works as well. Excellent!
 
In progress teaser:

1749416654269.webp
 
Watching
 
Off topic, but since you're under the vehicle. Can you give me quick measurements of the front lower control arm? Mounting width and length(inner pivot center to ball joint center)

I'm curious if the LX has longer arms than the GX and if they would bolt on to the GX. Like the Tundra suspension swap for the 200 series.
 
Off topic, but since you're under the vehicle. Can you give me quick measurements of the front lower control arm? Mounting width and length(inner pivot center to ball joint center)

I'm curious if the LX has longer arms than the GX and if they would bolt on to the GX. Like the Tundra suspension swap for the 200 series.
I'll try to grab something this weekend.
 

Users who are viewing this thread

Back
Top Bottom